?!DOCTYPE html PUBLIC "-//W3C//DTD XHTML 1.0 Transitional//EN" "http://www.w3.org/TR/xhtml1/DTD/xhtml1-transitional.dtd">
安装准备
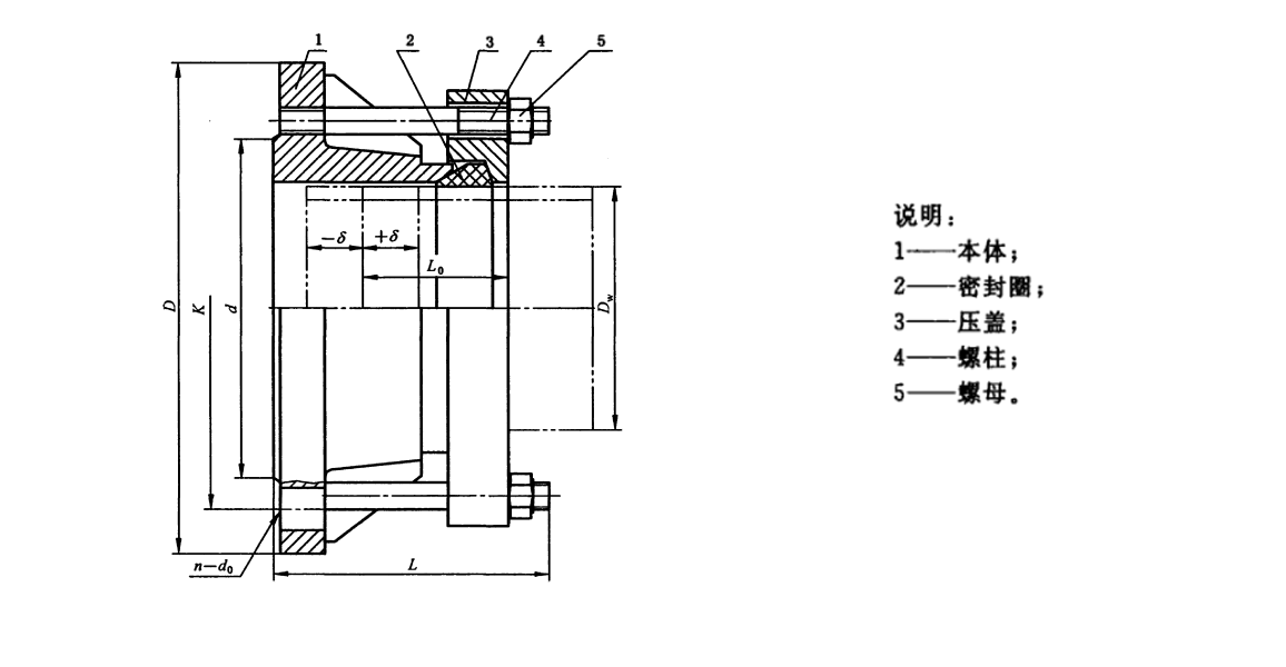
1、AF型法兰式村֥伸羃接头安装前,应按施工图检查AF型法兰式村֥伸羃接头的型式,规格Q传力螺杆装|等Q应认W合设计要求?br/>2、按安装说明书和施工图核对AF型法兰式村֥伸羃接头的~量或调节量QAF型法兰式村֥伸羃接头在安装前处于最佳状态?br/>3、法兰连接管件的法兰型式要与AF型法兰式村֥伸羃接头的法C致?br/>敯Q安?/strong>
1、定?br/>1.1、所有AF型法兰式村֥伸羃接头在安装前应对插入的管子先按要求在端做好插入长度标记Q确定管路定位时q接件的伸羃?br/>1.2、安装管路中讄(g)查室的情况下QAF型法兰式村֥伸羃接头的安装位|应便于(g)查及(qing)l修?br/>1.3、用Ac,Bc,DcAF型法兰式村֥伸羃接头当设有支架时应做到接头一端靠q固定支Ӟ另一端靠q导向支Ӟ接头与支架的距离均应不大于管子外径的4倍?br/>1.4、用AF型法兰式村֥伸羃接头的管道系l应正确选用固定支架和导向支Ӟ支架的数量应与系l相适应Q支架安攑֜AF型法兰式村֥伸羃接头附近。见?br/>2、焊?br/>2.1、焊接前(g)查AF型法兰式村֥伸羃接头和被焊接道口的^整度Q圆度及(qing)坡口Q应W合相关标准要求?br/>2.2、施焊时AF型法兰式村֥伸羃接头和被焊管道管口应定位固定Q不应生位UR?br/>2.3AF型法兰式村֥伸羃接头的施焊按AF型法兰式村֥伸羃接头的焊接工定要求进行操作?br/>3?(g)查调?br/>3.1、AF型法兰式村֥伸羃接头安装后应q行(g)查,所有压盖均应统一拧紧Q保证密圈和填料处于最佳状态?br/>3.2、根据需要,AF型法兰式村֥伸羃接头的传力杆调节x(chng)效位|。AF型法兰式村֥伸羃接头周围应有_的空_(d)以保证AF型法兰式村֥伸羃接头在设计范围内能自p动?br/>3.3、管道吊装位|不应设在AF型法兰式村֥伸羃接头上?br/>3.4、确认所有导向支Ӟ固定支架未正安装之前,不应q行内部压力试验?/p>
AF型法兰式村֥伸羃接头的选用
AF型法兰式村֥伸羃接头能吸收管道因热胀L(fng)形成的u向位U,但不能承受u向压力推力?br/>AF型法兰式村֥伸羃接头q接适用于管径较?yu)的一般管?br/>AF型法兰式村֥伸羃接头适用于在城市(jng)网pȝ中管径DN500以下的管路连接?br/>AF型法兰式村֥伸羃接头适用于明设,埋地敯或管沟敷设,但不应直接埋设于墙体或凝土内。法兰连接在暗设时应设有(g)查室?/p>
AF型法兰式村֥伸羃接头的安装可分ؓ(f)明设、埋地敷讑֒沟敯{方?
AF型法兰式村֥伸羃接头宜用于船舶管路系l时Q应W合有关要求和规定?br/>AF型法兰式村֥伸羃接头宜用于船舶IIU纵系和IIIU管p,但不适用于下列场?br/>aQ穿q压载舱和燃料舱的舱底水系
bQ穿q货舱和燃料qh和压载管pR包括空气和溢流系
cQ穿q机器处所、货舱和压蝲q燃料和石油管p,包括I气和溢管p?br/>dQ压力水雄l中的非L(q管pȝQ?br/>
如需最新数据请联系在线客服
沛_良众业有限公司 手机P(x)18638277136 Q?371-64018718 传真Q?nbsp;0371-64018718 邮箱Q?50165323@qq.com 地址Qm义市(jng)西村镇西?nbsp; |址Q?a href="http://tgbnf.cn" target="_self">http://tgbnf.cn